紧固件是将两个或两个以上的零件(或构件 )紧固连接成为一件整体时所采用的一类机械零件的总称(市场上也称为标准件)。紧固件是作紧固连接用且应用极为广泛的一类机械零件,在各种机械、设备、车辆、船舶、铁路、桥梁、建筑、结构、工具、仪器 、仪表、和用品等上面,应用极为广泛。
紧固件主要检测项目:
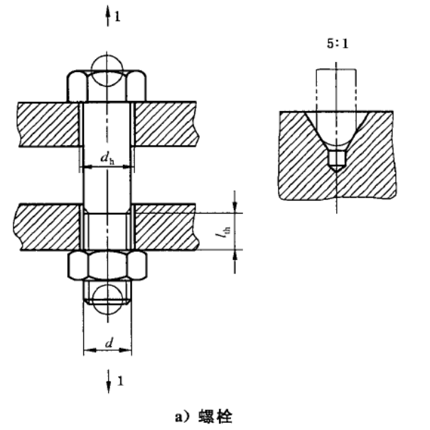
螺栓拉伸试验:通过对全尺寸试样或机加工试样的拉伸测试,判断其抗拉强度、屈服强度、断后伸长率和断面收缩率是否符合规定要求。全尺寸试样拉伸或叫实物拉伸,是将螺栓或螺钉拧入内螺纹夹具,螺纹有效旋合长度≥1d,未旋合螺纹的长度≥1d,并按照GB/T 228.1的规定进行拉伸试验。
螺栓或螺母保证载荷试验:是指螺纹产品实物不产生明显塑性变形所能承受的极限载荷,该值由产品的螺纹应力截面积和保证应力的乘积确定。测试时首先施加一个规定的保证载荷,一定时间后测量螺栓由保证载荷引起的永久伸长量,或检查螺母是否能自由的旋进旋出。
螺栓楔负载试验:在做螺栓拉力试验时,在螺栓头部下方加一个楔垫,主要检测螺栓头部与杆部的连接性能,当拉力载荷达到最高值时头部不应断裂。
螺栓或螺钉破坏扭矩试验:将要测的螺栓或螺钉夹紧在试验装置中,测定其破坏扭矩。实验时,螺栓或螺钉应只承受扭力,在达到最小破坏扭矩之前,试样不应断裂。试验时,螺栓或螺钉头部和螺纹部分不应有摩擦而影响试验效果。
其他检测项目:头部坚固性、脱碳层、扭矩系数、芯(表面)部硬度、再回火硬度、低温冲击、破坏扭矩,抗滑移系数。
紧固件常用检测标准:
GB/T 3098.1 紧固件机械性能:螺栓、螺钉和螺柱
ASTM F606/F606M 测定内外螺纹紧固件、垫圈、直接拉力以及铆钉机械性能的标准试验方法
ISO 898-1 碳钢和合金钢制紧固件的机械性能
GB/T 3098.6 紧固件机械性能:不锈钢螺栓、螺钉和螺柱
ISO 3506-1 耐腐蚀不锈钢紧固件的机械性能
